
【CNMO科技消息】近日,苹果一项名为“触摸敏感输入表面”的新专利获得授权,揭示了未来Vision Pro可能新增的交互方式。
苹果Vision Pro
根据专利描述,苹果正在研究如何将头显的镜框和遮光罩变为触控感应区域,以提供更多操作选项。目前,Vision Pro主要通过手势和少数物理按钮进行控制,但苹果认为,在不增加设备体积和重量的前提下,进一步扩展输入方式将提升用户体验。
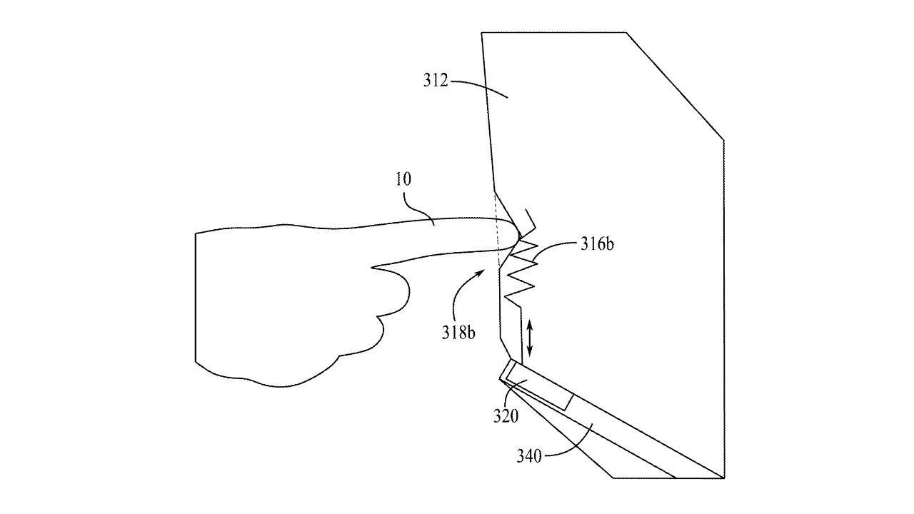
专利文件显示,苹果计划在头显的镜框内嵌入应变计,通过检测镜框的形变来感知用户的按压操作。同时,遮光罩的织物部分也可能集成触控传感器,支持触摸或滑动输入。不过,佩戴头显时用户难以直观定位触控区域,可能导致误操作。为此,苹果提出在屏幕上显示视觉指引,或通过遮光罩内侧的LED灯提示触控位置。此外,头显还可能通过检测用户抬手动作自动激活指引功能,以提升交互精准度。
目前,Vision Pro的物理按钮已能满足基础操作需求,例如单击、双击或长按顶部按键,以及通过Digital Crown调节音量和亮度。但苹果显然在探索更轻量化、无按钮的设计方向。此前有传闻称,苹果正开发更轻薄的Vision Pro版本,预计2027年发布。若未来机型取消物理按钮,触控式镜框和遮光罩或成为重要替代方案。
值得一提的是,这项专利的发明者之一Darshan R. Kasar是苹果资深工程师,已在公司任职近13年,目前担任Vision Pro产品设计组的技术负责人。
顶级配资提示:文章来自网络,不代表本站观点。